Смесители Blanco Германия в Казани и Татарстане

- Цвет: белый
- Материал покрытия: гранит
Смесители из гранита входят в большинство современных интерьеров. Материал неприхотлив в уборке, практичен и эргономичен. Гранит имеет очень прочную поверхность. При смене температурных режимов сохраняет свой внешний вид. Устойчив к механическим повреждениям.
Гибкая подводка — это система шлангов, предназначенная для соединения смесителя с водопроводом. Различаются два типа гибкой подводки: сильфонная в виде гибкого шланга, помещенного в гофрированный рукав из нержавейки, и армированная — каучуковый или резиновый шланг с оплеткой из стали или алюминия.
Горизонтальный способ монтажа смесителей предполагает установку этого оборудования на горизонтальной поверхности — например, на бортике раковины или на столешнице. Это наиболее распространенный способ монтажа: подводка при этом оказывается скрытой под поверхностью столешницы или мойки.
Картридж расположен внутри смесителя и позволяет контролировать температуру и напор воды. Он состоит из двух керамических пластин, которые вращаются относительно друг друга и смешивают потоки горячей и холодной воды в зависимости от того, как повернут вентиль. Работает бесшумно и является достаточно долговечным.
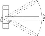
Поворотный излив означает, что вы сможете направить поток воды не только по центру, но и в сторону — и даже с раковины в ванну, если излив достаточно длинный. Угол поворота может быть разным, в зависимости от того получится сдвинуть кран на 180 или 360 градусов. С таким изливом проще мыть посуду и продукты, крупные предметы.
- Цвет: хром
- Материал покрытия: хром
Покрытие из хрома считается одним из лучших по соотношению цена-качество. На поверхности не образуются разводы, желтые пятна или накипь. Смеситель будет долгие годы сохранять свой первоначальный внешний вид. Материал обладает гипоаллергенными свойствами.
Гибкая подводка — это система шлангов, предназначенная для соединения смесителя с водопроводом. Различаются два типа гибкой подводки: сильфонная в виде гибкого шланга, помещенного в гофрированный рукав из нержавейки, и армированная — каучуковый или резиновый шланг с оплеткой из стали или алюминия.
Горизонтальный способ монтажа смесителей предполагает установку этого оборудования на горизонтальной поверхности — например, на бортике раковины или на столешнице. Это наиболее распространенный способ монтажа: подводка при этом оказывается скрытой под поверхностью столешницы или мойки.
Аэратор — это специальная насадка, которая размещается на носике излива и предназначается для уменьшения потребления воды без снижения ее напора. Аэратор включает систему сетчатых фильтров, благодаря которой вода насыщается пузырьками воздуха, становится мягче и приобретает больший объем.
Картридж расположен внутри смесителя и позволяет контролировать температуру и напор воды. Он состоит из двух керамических пластин, которые вращаются относительно друг друга и смешивают потоки горячей и холодной воды в зависимости от того, как повернут вентиль. Работает бесшумно и является достаточно долговечным.
Поворотный излив означает, что вы сможете направить поток воды не только по центру, но и в сторону — и даже с раковины в ванну, если излив достаточно длинный. Угол поворота может быть разным, в зависимости от того получится сдвинуть кран на 180 или 360 градусов. С таким изливом проще мыть посуду и продукты, крупные предметы.
- Цвет: хром
Гибкая подводка — это система шлангов, предназначенная для соединения смесителя с водопроводом. Различаются два типа гибкой подводки: сильфонная в виде гибкого шланга, помещенного в гофрированный рукав из нержавейки, и армированная — каучуковый или резиновый шланг с оплеткой из стали или алюминия.
Горизонтальный способ монтажа смесителей предполагает установку этого оборудования на горизонтальной поверхности — например, на бортике раковины или на столешнице. Это наиболее распространенный способ монтажа: подводка при этом оказывается скрытой под поверхностью столешницы или мойки.
Поворотный излив означает, что вы сможете направить поток воды не только по центру, но и в сторону — и даже с раковины в ванну, если излив достаточно длинный. Угол поворота может быть разным, в зависимости от того получится сдвинуть кран на 180 или 360 градусов. С таким изливом проще мыть посуду и продукты, крупные предметы.
- Цвет: хром
- Материал покрытия: хром
Покрытие из хрома считается одним из лучших по соотношению цена-качество. На поверхности не образуются разводы, желтые пятна или накипь. Смеситель будет долгие годы сохранять свой первоначальный внешний вид. Материал обладает гипоаллергенными свойствами.
Гибкая подводка — это система шлангов, предназначенная для соединения смесителя с водопроводом. Различаются два типа гибкой подводки: сильфонная в виде гибкого шланга, помещенного в гофрированный рукав из нержавейки, и армированная — каучуковый или резиновый шланг с оплеткой из стали или алюминия.
Горизонтальный способ монтажа смесителей предполагает установку этого оборудования на горизонтальной поверхности — например, на бортике раковины или на столешнице. Это наиболее распространенный способ монтажа: подводка при этом оказывается скрытой под поверхностью столешницы или мойки.
Картридж расположен внутри смесителя и позволяет контролировать температуру и напор воды. Он состоит из двух керамических пластин, которые вращаются относительно друг друга и смешивают потоки горячей и холодной воды в зависимости от того, как повернут вентиль. Работает бесшумно и является достаточно долговечным.
Поворотный излив означает, что вы сможете направить поток воды не только по центру, но и в сторону — и даже с раковины в ванну, если излив достаточно длинный. Угол поворота может быть разным, в зависимости от того получится сдвинуть кран на 180 или 360 градусов. С таким изливом проще мыть посуду и продукты, крупные предметы.
- Цвет: нержавеющая сталь полированная
Гибкая подводка — это система шлангов, предназначенная для соединения смесителя с водопроводом. Различаются два типа гибкой подводки: сильфонная в виде гибкого шланга, помещенного в гофрированный рукав из нержавейки, и армированная — каучуковый или резиновый шланг с оплеткой из стали или алюминия.
Горизонтальный способ монтажа смесителей предполагает установку этого оборудования на горизонтальной поверхности — например, на бортике раковины или на столешнице. Это наиболее распространенный способ монтажа: подводка при этом оказывается скрытой под поверхностью столешницы или мойки.
Аэратор — это специальная насадка, которая размещается на носике излива и предназначается для уменьшения потребления воды без снижения ее напора. Аэратор включает систему сетчатых фильтров, благодаря которой вода насыщается пузырьками воздуха, становится мягче и приобретает больший объем.
Поворотный излив означает, что вы сможете направить поток воды не только по центру, но и в сторону — и даже с раковины в ванну, если излив достаточно длинный. Угол поворота может быть разным, в зависимости от того получится сдвинуть кран на 180 или 360 градусов. С таким изливом проще мыть посуду и продукты, крупные предметы.
- Цвет: хром
- Материал покрытия: хром
- Выдвижной излив: Есть
Покрытие из хрома считается одним из лучших по соотношению цена-качество. На поверхности не образуются разводы, желтые пятна или накипь. Смеситель будет долгие годы сохранять свой первоначальный внешний вид. Материал обладает гипоаллергенными свойствами.
Гибкая подводка — это система шлангов, предназначенная для соединения смесителя с водопроводом. Различаются два типа гибкой подводки: сильфонная в виде гибкого шланга, помещенного в гофрированный рукав из нержавейки, и армированная — каучуковый или резиновый шланг с оплеткой из стали или алюминия.
Горизонтальный способ монтажа смесителей предполагает установку этого оборудования на горизонтальной поверхности — например, на бортике раковины или на столешнице. Это наиболее распространенный способ монтажа: подводка при этом оказывается скрытой под поверхностью столешницы или мойки.
Картридж расположен внутри смесителя и позволяет контролировать температуру и напор воды. Он состоит из двух керамических пластин, которые вращаются относительно друг друга и смешивают потоки горячей и холодной воды в зависимости от того, как повернут вентиль. Работает бесшумно и является достаточно долговечным.
Поворотный излив означает, что вы сможете направить поток воды не только по центру, но и в сторону — и даже с раковины в ванну, если излив достаточно длинный. Угол поворота может быть разным, в зависимости от того получится сдвинуть кран на 180 или 360 градусов. С таким изливом проще мыть посуду и продукты, крупные предметы.
- Цвет: хром
Гибкая подводка — это система шлангов, предназначенная для соединения смесителя с водопроводом. Различаются два типа гибкой подводки: сильфонная в виде гибкого шланга, помещенного в гофрированный рукав из нержавейки, и армированная — каучуковый или резиновый шланг с оплеткой из стали или алюминия.
Горизонтальный способ монтажа смесителей предполагает установку этого оборудования на горизонтальной поверхности — например, на бортике раковины или на столешнице. Это наиболее распространенный способ монтажа: подводка при этом оказывается скрытой под поверхностью столешницы или мойки.
Аэратор — это специальная насадка, которая размещается на носике излива и предназначается для уменьшения потребления воды без снижения ее напора. Аэратор включает систему сетчатых фильтров, благодаря которой вода насыщается пузырьками воздуха, становится мягче и приобретает больший объем.
Картридж расположен внутри смесителя и позволяет контролировать температуру и напор воды. Он состоит из двух керамических пластин, которые вращаются относительно друг друга и смешивают потоки горячей и холодной воды в зависимости от того, как повернут вентиль. Работает бесшумно и является достаточно долговечным.
Поворотный излив означает, что вы сможете направить поток воды не только по центру, но и в сторону — и даже с раковины в ванну, если излив достаточно длинный. Угол поворота может быть разным, в зависимости от того получится сдвинуть кран на 180 или 360 градусов. С таким изливом проще мыть посуду и продукты, крупные предметы.
- Цвет: полированная нержавеющая сталь
- Выдвижной излив: Есть
Аэратор — это специальная насадка, которая размещается на носике излива и предназначается для уменьшения потребления воды без снижения ее напора. Аэратор включает систему сетчатых фильтров, благодаря которой вода насыщается пузырьками воздуха, становится мягче и приобретает больший объем.
Обратный клапан — устройство, которое не позволяет изменить направление потока воды и автоматически перекрывает ее, если вода начинает течь обратно. Он необходим для исключения случаев, когда из-за разницы давления из холодного крана идет горячая вода, а также для корректной работы водонагревателя.
Поворотный излив означает, что вы сможете направить поток воды не только по центру, но и в сторону — и даже с раковины в ванну, если излив достаточно длинный. Угол поворота может быть разным, в зависимости от того получится сдвинуть кран на 180 или 360 градусов. С таким изливом проще мыть посуду и продукты, крупные предметы.
- Цвет: темная скала
- Выдвижной излив: Есть
Гибкая подводка — это система шлангов, предназначенная для соединения смесителя с водопроводом. Различаются два типа гибкой подводки: сильфонная в виде гибкого шланга, помещенного в гофрированный рукав из нержавейки, и армированная — каучуковый или резиновый шланг с оплеткой из стали или алюминия.
Горизонтальный способ монтажа смесителей предполагает установку этого оборудования на горизонтальной поверхности — например, на бортике раковины или на столешнице. Это наиболее распространенный способ монтажа: подводка при этом оказывается скрытой под поверхностью столешницы или мойки.
Обратный клапан — устройство, которое не позволяет изменить направление потока воды и автоматически перекрывает ее, если вода начинает течь обратно. Он необходим для исключения случаев, когда из-за разницы давления из холодного крана идет горячая вода, а также для корректной работы водонагревателя.
Картридж расположен внутри смесителя и позволяет контролировать температуру и напор воды. Он состоит из двух керамических пластин, которые вращаются относительно друг друга и смешивают потоки горячей и холодной воды в зависимости от того, как повернут вентиль. Работает бесшумно и является достаточно долговечным.
- Цвет: антрацит
- Выдвижной излив: Есть
Гибкая подводка — это система шлангов, предназначенная для соединения смесителя с водопроводом. Различаются два типа гибкой подводки: сильфонная в виде гибкого шланга, помещенного в гофрированный рукав из нержавейки, и армированная — каучуковый или резиновый шланг с оплеткой из стали или алюминия.
Горизонтальный способ монтажа смесителей предполагает установку этого оборудования на горизонтальной поверхности — например, на бортике раковины или на столешнице. Это наиболее распространенный способ монтажа: подводка при этом оказывается скрытой под поверхностью столешницы или мойки.
Обратный клапан — устройство, которое не позволяет изменить направление потока воды и автоматически перекрывает ее, если вода начинает течь обратно. Он необходим для исключения случаев, когда из-за разницы давления из холодного крана идет горячая вода, а также для корректной работы водонагревателя.
Картридж расположен внутри смесителя и позволяет контролировать температуру и напор воды. Он состоит из двух керамических пластин, которые вращаются относительно друг друга и смешивают потоки горячей и холодной воды в зависимости от того, как повернут вентиль. Работает бесшумно и является достаточно долговечным.
- Цвет: хром
Гибкая подводка — это система шлангов, предназначенная для соединения смесителя с водопроводом. Различаются два типа гибкой подводки: сильфонная в виде гибкого шланга, помещенного в гофрированный рукав из нержавейки, и армированная — каучуковый или резиновый шланг с оплеткой из стали или алюминия.
Горизонтальный способ монтажа смесителей предполагает установку этого оборудования на горизонтальной поверхности — например, на бортике раковины или на столешнице. Это наиболее распространенный способ монтажа: подводка при этом оказывается скрытой под поверхностью столешницы или мойки.
Аэратор — это специальная насадка, которая размещается на носике излива и предназначается для уменьшения потребления воды без снижения ее напора. Аэратор включает систему сетчатых фильтров, благодаря которой вода насыщается пузырьками воздуха, становится мягче и приобретает больший объем.
Картридж расположен внутри смесителя и позволяет контролировать температуру и напор воды. Он состоит из двух керамических пластин, которые вращаются относительно друг друга и смешивают потоки горячей и холодной воды в зависимости от того, как повернут вентиль. Работает бесшумно и является достаточно долговечным.
Поворотный излив означает, что вы сможете направить поток воды не только по центру, но и в сторону — и даже с раковины в ванну, если излив достаточно длинный. Угол поворота может быть разным, в зависимости от того получится сдвинуть кран на 180 или 360 градусов. С таким изливом проще мыть посуду и продукты, крупные предметы.
- Цвет: нержавеющая сталь
- Материал покрытия: хром
- Выдвижной излив: Есть
Покрытие из хрома считается одним из лучших по соотношению цена-качество. На поверхности не образуются разводы, желтые пятна или накипь. Смеситель будет долгие годы сохранять свой первоначальный внешний вид. Материал обладает гипоаллергенными свойствами.
Гибкая подводка — это система шлангов, предназначенная для соединения смесителя с водопроводом. Различаются два типа гибкой подводки: сильфонная в виде гибкого шланга, помещенного в гофрированный рукав из нержавейки, и армированная — каучуковый или резиновый шланг с оплеткой из стали или алюминия.
Горизонтальный способ монтажа смесителей предполагает установку этого оборудования на горизонтальной поверхности — например, на бортике раковины или на столешнице. Это наиболее распространенный способ монтажа: подводка при этом оказывается скрытой под поверхностью столешницы или мойки.
Аэратор — это специальная насадка, которая размещается на носике излива и предназначается для уменьшения потребления воды без снижения ее напора. Аэратор включает систему сетчатых фильтров, благодаря которой вода насыщается пузырьками воздуха, становится мягче и приобретает больший объем.
Обратный клапан — устройство, которое не позволяет изменить направление потока воды и автоматически перекрывает ее, если вода начинает течь обратно. Он необходим для исключения случаев, когда из-за разницы давления из холодного крана идет горячая вода, а также для корректной работы водонагревателя.
Картридж расположен внутри смесителя и позволяет контролировать температуру и напор воды. Он состоит из двух керамических пластин, которые вращаются относительно друг друга и смешивают потоки горячей и холодной воды в зависимости от того, как повернут вентиль. Работает бесшумно и является достаточно долговечным.
Поворотный излив означает, что вы сможете направить поток воды не только по центру, но и в сторону — и даже с раковины в ванну, если излив достаточно длинный. Угол поворота может быть разным, в зависимости от того получится сдвинуть кран на 180 или 360 градусов. С таким изливом проще мыть посуду и продукты, крупные предметы.
- Цвет: хром
Гибкая подводка — это система шлангов, предназначенная для соединения смесителя с водопроводом. Различаются два типа гибкой подводки: сильфонная в виде гибкого шланга, помещенного в гофрированный рукав из нержавейки, и армированная — каучуковый или резиновый шланг с оплеткой из стали или алюминия.
Горизонтальный способ монтажа смесителей предполагает установку этого оборудования на горизонтальной поверхности — например, на бортике раковины или на столешнице. Это наиболее распространенный способ монтажа: подводка при этом оказывается скрытой под поверхностью столешницы или мойки.
Аэратор — это специальная насадка, которая размещается на носике излива и предназначается для уменьшения потребления воды без снижения ее напора. Аэратор включает систему сетчатых фильтров, благодаря которой вода насыщается пузырьками воздуха, становится мягче и приобретает больший объем.
Картридж расположен внутри смесителя и позволяет контролировать температуру и напор воды. Он состоит из двух керамических пластин, которые вращаются относительно друг друга и смешивают потоки горячей и холодной воды в зависимости от того, как повернут вентиль. Работает бесшумно и является достаточно долговечным.
Поворотный излив означает, что вы сможете направить поток воды не только по центру, но и в сторону — и даже с раковины в ванну, если излив достаточно длинный. Угол поворота может быть разным, в зависимости от того получится сдвинуть кран на 180 или 360 градусов. С таким изливом проще мыть посуду и продукты, крупные предметы.
- Цвет: нержавеющая сталь
Гибкая подводка — это система шлангов, предназначенная для соединения смесителя с водопроводом. Различаются два типа гибкой подводки: сильфонная в виде гибкого шланга, помещенного в гофрированный рукав из нержавейки, и армированная — каучуковый или резиновый шланг с оплеткой из стали или алюминия.
Горизонтальный способ монтажа смесителей предполагает установку этого оборудования на горизонтальной поверхности — например, на бортике раковины или на столешнице. Это наиболее распространенный способ монтажа: подводка при этом оказывается скрытой под поверхностью столешницы или мойки.
Аэратор — это специальная насадка, которая размещается на носике излива и предназначается для уменьшения потребления воды без снижения ее напора. Аэратор включает систему сетчатых фильтров, благодаря которой вода насыщается пузырьками воздуха, становится мягче и приобретает больший объем.
Картридж расположен внутри смесителя и позволяет контролировать температуру и напор воды. Он состоит из двух керамических пластин, которые вращаются относительно друг друга и смешивают потоки горячей и холодной воды в зависимости от того, как повернут вентиль. Работает бесшумно и является достаточно долговечным.
Поворотный излив означает, что вы сможете направить поток воды не только по центру, но и в сторону — и даже с раковины в ванну, если излив достаточно длинный. Угол поворота может быть разным, в зависимости от того получится сдвинуть кран на 180 или 360 градусов. С таким изливом проще мыть посуду и продукты, крупные предметы.
- Цвет: жемчужный
Гибкая подводка — это система шлангов, предназначенная для соединения смесителя с водопроводом. Различаются два типа гибкой подводки: сильфонная в виде гибкого шланга, помещенного в гофрированный рукав из нержавейки, и армированная — каучуковый или резиновый шланг с оплеткой из стали или алюминия.
Поворотный излив означает, что вы сможете направить поток воды не только по центру, но и в сторону — и даже с раковины в ванну, если излив достаточно длинный. Угол поворота может быть разным, в зависимости от того получится сдвинуть кран на 180 или 360 градусов. С таким изливом проще мыть посуду и продукты, крупные предметы.
- Цвет: антрацит
Гибкая подводка — это система шлангов, предназначенная для соединения смесителя с водопроводом. Различаются два типа гибкой подводки: сильфонная в виде гибкого шланга, помещенного в гофрированный рукав из нержавейки, и армированная — каучуковый или резиновый шланг с оплеткой из стали или алюминия.
Поворотный излив означает, что вы сможете направить поток воды не только по центру, но и в сторону — и даже с раковины в ванну, если излив достаточно длинный. Угол поворота может быть разным, в зависимости от того получится сдвинуть кран на 180 или 360 градусов. С таким изливом проще мыть посуду и продукты, крупные предметы.

Один рычаг управления в смесителях Blanco обеспечивает регулировку температуры и напора воды одним движением, оставляя вторую руку свободной. Регулировка температуры при этом становится более точной, а опасность ожога кипятком уменьшается. Более того, для управления однорычажным смесителем можно использовать локоть или тыльную сторону кисти руки. Простое управление и быстрая настройка температуры позволяют сэкономить время, а также значительно сократить потребление воды по сравнению с двухрычажными смесителями, где имеется один вентиль для холодной воды и другой для горячей.

Два рычага управления в смесителях Blanco могут предназначаться для различных целей. В смесителях с краном для питьевой воды первый рычаг предназначен для регулировки температуры и напора воды, а второй — для получения фильтрованной воды, которую можно пить без кипячения. Фильтры при этом размещаются под мойкой. Такие смесители очень удобны и экономичны.
Второй вариант — смесители в стиле ретро с двумя вентилями для регулировки напора горячей и холодной воды отдельно. С ними намного проще получить только горячую или холодную воду. Это стильные устройства, которые украсят любую кухню.

Выдвижной гибкий шланг в смесителях Blanco значительно увеличивает удобство и создает дополнительные возможности применения. Выдвижной шланг, проходящий через корпус смесителя и заканчивающийся изливом, отлично подходит для использования в мойках с двумя чашами, а также позволяет набирать воду в большие емкости, которые не помещаются в чашу. Гибкий шланг помогает направлять струю в труднодоступные места, облегчая мытье посуды или самой чаши, и предотвращает появление брызг. Носик с аэратором позволяет обогатить воду кислородом и уменьшить ее расход при сохранении интенсивности напора.

Фильтр для воды в смесителях Blanco позволяет получить очищенную питьевую воду в любой момент и в любом количестве и тем самым сэкономить на покупке бутилированной воды. Фильтры от Blanco гарантируют полную очистку воды от вредных примесей и накипи. С ними вам не нужно будет проделывать дополнительное отверстие в мойке, поскольку подача чистой воды осуществляется через обычный смеситель с разделением потоков. Фильтры отличаются длительным сроком службы, их сменные модули могут подбираться для каждого конкретного случая отдельно. Заменить такой фильтр сможет даже неопытный пользователь.

Надежный материал SILGRANIT™ PuraDur™, используемый в смесителях Blanco, состоит на 80% из натурального гранита, а на 20% из связующего материала на основе акриловой смолы. Необыкновенно приятный на ощупь, этот материал не меняет цвет со временем благодаря отсутствию пор, в которые могла бы впитываться грязь, отличается устойчивостью к любым повреждениям и высоким температурам. SILGRANIT™ PuraDur отличается удобством в очистке, долговечностью и стильным внешним видом. Производитель предлагает десять различных оттенков, от белого до цвета графит, которые подойдут для любой кухни.
